目前,2023年黄山市专业技术人员继续教育工作的通知已下发,今年专业技术人员继续教育公需科目仍采取网络在线学习。
↓一起来看具体如何操作↓
一、登录 打开安徽省人力资源和社会保障厅官网(网址:http://hrss.ah.gov.cn),在“资讯中心”栏目右侧,在专题专栏里点击“专技人员综合管理服务平台”并进入平台,选择“继续教育”专栏进入继续教育管理平台。如图所示: 继续教育管理平台需使用安徽政务服务网账号登录。学员点击管理平台首页按钮“点击前往安徽政务服务网”,按照安徽政务服务网提示完成个人用户登录,登录支持政务网账号密码登录和本人支付宝扫码授权登录。 没有政务网账号的学员请按照政务网提示完成注册与登录。如图所示: 学员通过管理平台在“安徽政务服务网”登录成功后即可跳转至安徽省专业技术人员继续教育管理平台。 如不能正常跳转,请在安徽政务服务网成功登录个人用户后,再次打开安徽省人社厅官网进入继续教育管理平台,点击管理平台按钮“点击前往安徽政务服务网”即可自动登录。
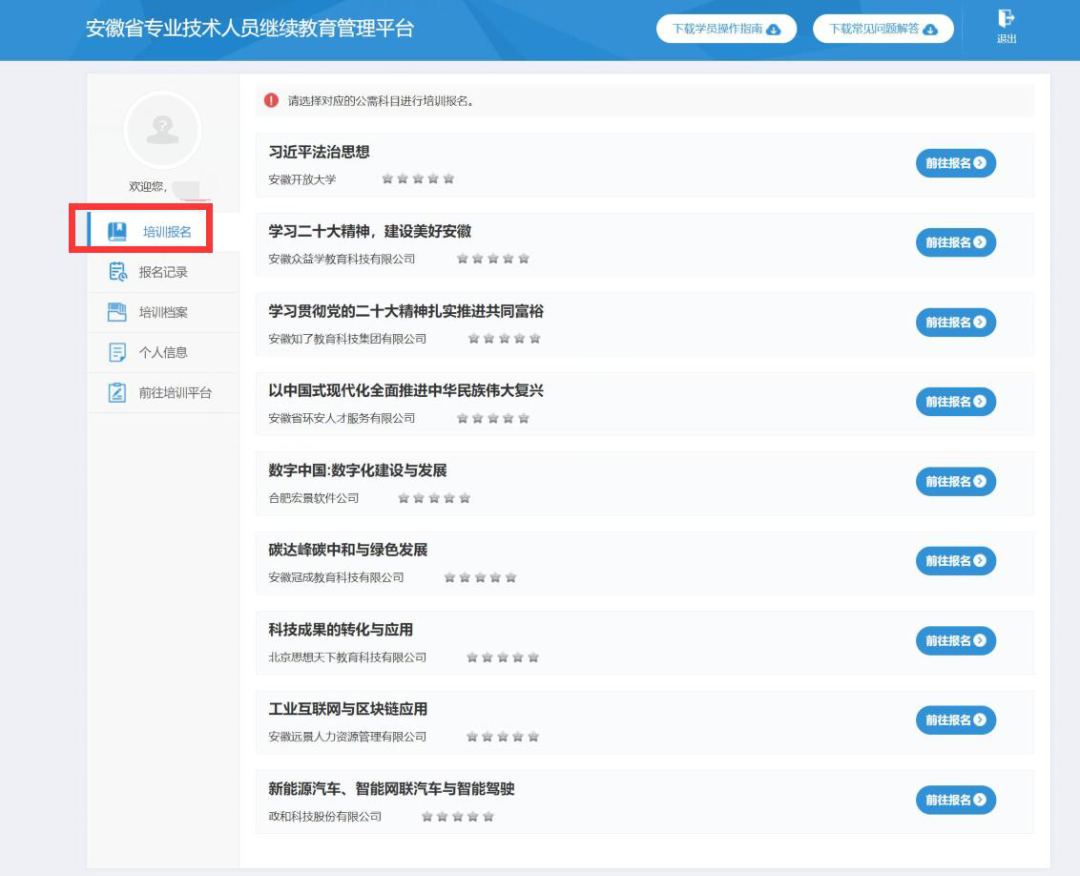
二、学习 学员可在继续教育管理平台进行报名公需课专题、下载档案证书等操作。 (一)完善信息 首次登录进入管理平台的学员,需要根据提示完善个人信息,带*项目为必须填写的项目,完善信息并提交后自动进入学员中心。如图所示: 其中,为了规范单位名称,工作单位需要搜索单位全称或全称中连续的四个字,选择搜索结果并确定。 若单位搜索不到,则需要专业技术人员联系所在单位的政务网法人用户管理员进行相关操作,具体操作请查阅《继续教育管理平台常见问题解答》第四问。 (二)培训报名 完善信息后进入继续教育管理平台,可根据报名记录的页面提示点击“去报名”,或点击学员中心左侧菜单【培训报名】,选择专题并前往报名,点击“我要报名”并确定,会自动跳转到该专题对应的培训平台。如图所示: 重要提醒:根据主管部门管理规定,继续教育公需课统一在继续教育管理平台上报名选题,管理平台报名成功后再链接到专题对应的培训平台开展学习。 (三)缴费学习 学员在管理平台报名公需课专题成功后,会生成对应的报名记录。 点击报名记录中对应专题的“去缴费”/“去学习”按钮,即可到培训平台缴费学习(此过程根据各培训平台流程而定,可查看培训平台相应的缴费学习指南)。


Copyright C 2022 All Rights Reserved 版权所有 黄山直聘网 皖ICP备2021001190号-2 皖公网安备34100202000431号
地址:黄山市屯溪区园北街65号 EMAIL:admin@admin.com